亚马逊蜂巢设计完成无人机配送
已有人阅读此文 - -
如果亚马逊的包装无人机成为现实,那么有可能有一天会从世界各地的城市中挑选出蜂巢状建筑物的交货。
无人机设计

该专利于6月22日在线发表,描述了“无人驾驶飞机的多层次实施中心”,展示了亚马逊如何计划将包裹交付提升到一个新的水平。
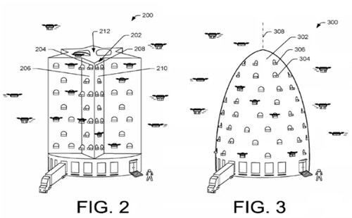
这些天,亚马逊的仓库“通常是大型单层仓库建筑”,位于城市郊区,该公司在2015年提交的专利中写道。然而,“这些地点不适合亚运会表示,亚运会交付到越来越多人居住的城市。
如果这些仓库可以在城市建成,那么这将减少亚马逊客户在那里生活和工作的交货时间。但是,由于房地产在市区有限,亚马逊提出了一个解决办法:它可以建立一个未来派的高层,将存储零售物品,并作为提供客户订单的无人机的基地和机场。
无人机配送
该专利描述了建筑物将如何设置无人机着陆和起飞的多层平台。 亚马逊说,为了防止无人机失灵或发生故障,该公司将在战略地区放置一个“冲击阻尼器”,如泡沫或网络。

该公司将以老式的方式存放蜂巢架,即通过卡车,铁路或船舶安排货物运输。然后,亚马逊说,人力和机器人设备将卸载,然后包装订单。
此外,如果客户有时间停留在中心,他们可以根据专利在自助服务场所,包括储物柜或人员接送室进行订单。

但是,该建筑物的主要原因是无人机的起飞和交付 - 抢断了展会。订单包装后,可以是机器人,电梯,输送带或某种提升机构的“内部运输机器人”将将一个无人机从一个保持区移动到一个用于充电和起飞的平台。
无人机专利
这一步是关键:根据专利,将无人机带到更高的起降位置,从而节省了无人机的能量,因为它能够升高到巡航高度。该专利说,高起飞平台也将不受“无人驾驶”影响,远离街道,有利于减少行人的噪音污染。
无人机材料性能
要实现无人机飞行
低能耗:就要采用轻型材料.
耐摔:材料需要具备良好的韧性.
耐老化:抗uv让无人机使用寿命更长降低企业的成本。
了解更多材料的性能就上-搜料网。



