金明精机获两项国度专利证书
已有人阅读此文 - -
据金明精机发布,企业最近获得二项国家发明专利,分别是:“用以生产制造可降解塑料塑料薄膜的挤塑机”和“无杆气缸驱动器的切膜刀设备”,其均获得国家专利局授予的有关发明专利证书,专利权限期均为十年。
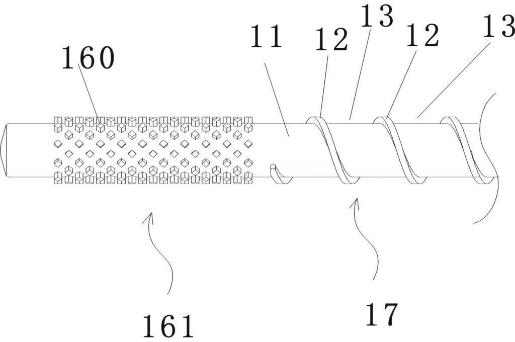
用以生产制造可降解塑料塑料薄膜的挤塑机专利权包含料筒和挤出机螺杆,挤出机螺杆包含有加料段、缩小段、匀化段、天然屏障段。

用以生产制造可降解塑料塑料薄膜的挤塑机
在其中加料段的竖向部位挨近料筒后端入料料仓,且加料段的螺槽深层维持不会改变。而缩小段的竖向部位紧邻加料段并坐落于加料段的正前方,且缩小段的螺槽深层由后到前慢慢缩小,缩小段最终端螺槽深层相当于加料段的螺槽深层,缩小段最前端开发的螺槽深层相当于匀化段的螺槽深层。混炼段和匀化段坐落于缩小段的正前方,混炼段的表层产生有多条凸起的混炼螺母。
该专利权机器设备使原材料中的辅材和主要材料在挤塑机中获得充足的混炼匀化,且防止出现烧糊或霉变的难题。
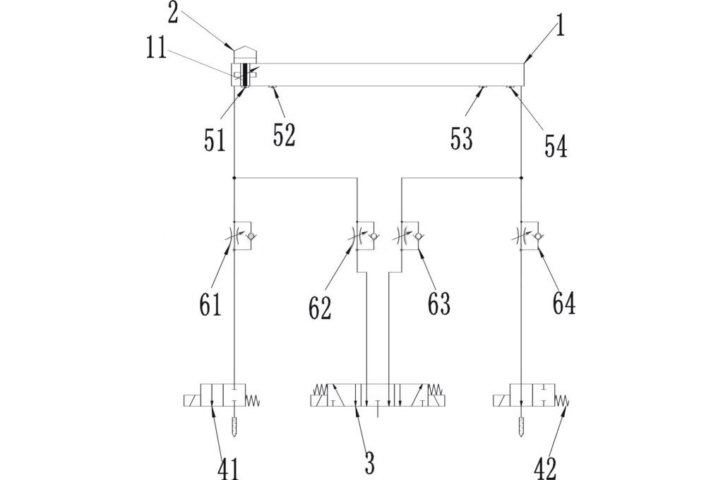
无杆气缸驱动器的切膜刀设备专利权包含无杆气缸和切膜刀。

无杆气缸驱动器的切膜刀设备
无杆气缸中设立导轨滑块,还设立一个中泄式的三位五通继电器、2个俩位两通继电器。无杆气缸的左边设立第一限位开关、第二限位开关,无杆气缸的右边设立第三限位开关、第四限位开关。该实用新型专利能大幅度减少导轨滑块与无杆气缸的轴承端盖碰撞的强烈水平。
据金明精机表明,该二项专利权均为自主研发,所涉及到技术性与金明精机关键技术性有关,并已运用于目前的商品。所述专利权的获得和应用,有益于金明精机进一步健全专利权管理体系,产生不断创新机制,维持技术性领先水平,提高企业的竞争优势。
来源于:CPRJ 中国塑料硫化橡胶



